VenusEye首页 > 资讯列表 > 9.8分 & 7.2分 启明星辰为CVE高分漏洞提供解决方案

9.8分 & 7.2分 启明星辰为CVE高分漏洞提供解决方案2020-04-16    ADLab



Oracle官方发布4月份安全补丁, 补丁中包含启明星辰ADLab发现并第一时间提交给官方的漏洞,漏洞编号为CVE-2020-2798和CVE-2020-2801。其中,CVE-2020-2798 CVVS评分为7.2分,CVE-2020-2801漏洞等级为高危,CVVS评分为9.8分。

漏洞都与T3协议反序列化有关,利用漏洞攻击者将生成的payload封装在T3协议中,在反序列化过程中实现对存在漏洞的WebLogic组件进行远程任意代码攻击。

漏洞利用

1 CVE-2020-2798

测试环境:WebLogic Server 10.3.6.0

漏洞利用效果:

2 CVE-2020-2798

测试环境:WebLogic Server 10.3.6.0

漏洞利用效果:

漏洞影响版本

Weblogic 10.3.6.0

Weblogic 12.1.3.0

Weblogic 12.2.1.3

Weblogic 12.2.1.4

解决方案

1 升级补丁

https://www.oracle.com/security-alerts/cpuapr2020.html

2 控制T3协议的访问

漏洞产生于Weblogic的T3服务,因此可通过控制T3协议的访问来临时阻断针对漏洞的攻击。当开放Weblogic控制台端口(默认为7001端口)时,T3服务会默认开启。

具体操作:

1)进入WebLogic控制台,在base_domain的配置页面中,进入“安全”选项卡页面,点击“筛选器”,进入连接筛选器配置。

2)在连接筛选器中输入:weblogic.security.net.ConnectionFilterImpl,在连接筛选器规则中输入:127.0.0.1 * * allow t3 t3s,0.0.0.0/0 * * deny t3 t3s(t3和t3s协议的所有端口只允许本地访问)。

3)保存后需重新启动,规则方可生效。

3 产品检测与防护

已部署启明星辰IDS、IPS、WAF产品的客户请确认如下事件规则已经下发并应用,即可有效检测或阻断攻击:

TCP_Oracle_Weblogic_远程代码执行漏洞[CVE-2020-2798]

TCP_Oracle_Weblogic_远程代码执行漏洞[CVE-2020-2801

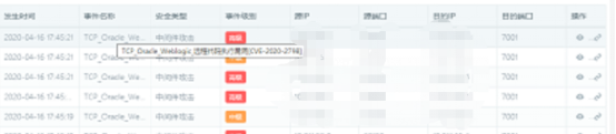
(1)天阗入侵检测与管理系统报警截图:

(2)天清入侵防御系统报警截图:

(3)天清Web应用安全网关报警截图:

·

end

·

数据运营·情报赋能